Article
Figure 1
Figure 2
Figure 3
Figure 4
Figure 5
Figure 6
Figure 7
Figure 8
Figure 9
aug2001.tar
Figure 8
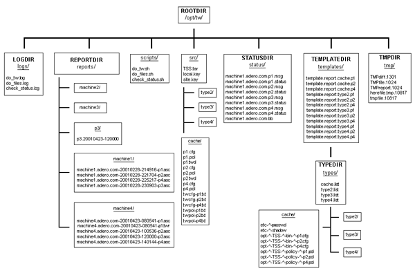
Interrogator's directory structure
© 2002 CMP Media LLC. All Rights Reserved.
www.samag.com